Two Strokes May Return
It’s been a while since two-stroke engines went the way of the dinosaurs, with them being considered too inefficient, noisy, and emission-heavy for the 21st century. It is widely believed that the incorporation of technologies like electronically-controlled fuel injection, oil metering, and port timing could bring two-strokes into the modern era by boosting efficiency and reducing emissions, however most mainstream engine development over the last couple of decades has been directed solely at four-strokes.
Two-stroke engines do offer a much higher specific output than four strokes, while being lighter and extremely simple with fewer moving parts. GM seems to have taken notice of these advantages, and have filed a patent with the United States Patent and Trademark Office that may make modern two strokes a reality.
USPTO
GM Developing a Two Stroke?
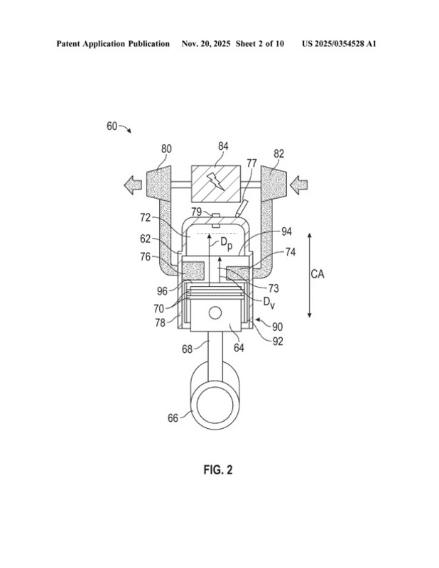
A General Motors patent filed last year and publicly published just a few days ago seems to indicate that the company is exploring ways to bring two-stroke engines back into the mainstream. The patent describes an electronically-controlled sliding valve system placed between the piston and the cylinder wall.

The Problem With Two Stroke Engines
Traditional two-strokes lack a conventional valvetrain; no camshafts, no valves, and no timing system. Instead, they rely on ports in the cylinder walls for the exchange of gases, with the piston blocking off these ports at specific times in the combustion cycle. This method leaves a small period of overlap, where both the intake and exhausts ports are open, letting unburnt hydrocarbons out into the atmosphere through the exhaust.
USPTO
GM’s Solution
GM’s proposed system aims to tackle this issue by incorporating a moveable valve member between the piston and the cylinder wall, to offer more precise port control. As per the patent documents, this sleeve-type valve may be controlled by an electro-mechanical actuator, allowing it to seal off the ports independently of the piston and address the issue of unburnt gases and hydrocarbons making their way into the exhaust.
USPTO
Possible Applications
While there is no information presently available on when and how GM plans to incorporate this technology, the patent does mention its use in a hybrid vehicle. This could indicate that GM is envisioning a new take on plug-in hybrid architecture, perhaps with a power-dense, two-stroke engine working alongside electric motors. If executed right, such a layout could offer lower costs, better packaging, lighter weight, and higher performance than modern PHEVs.
from Autoblog News https://ift.tt/QcUPFbf
0 Comments